比較資料
カートへ入れる
比較表
作成する

SPジョイント

2025/08/15 更新
  • 製品単体
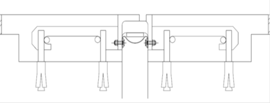
  • 製品断面図
  • 施工後イメージ

概要

本体部材が鋼製で、フェースとウェブが一体構造のため耐久性に優れる。
製品の定尺は1800mm。
小型、軽量なため施工性は極めて良好。
伸縮性に富んだ弾性シール材を使用することで、高い止水性と防音性を確保している。
2次止水にも対応しており、別置型と本体内側に止水ゴムを取り付けた一体型の2タイプを用意している。
Sタイプは誘導板により除雪時のグレーダーから本体を守ります。
圧雪対策を施した仕様や塗装による耐食性を向上させた仕様等幅広い仕様に対応可能。
NEXCO構造物施工管理要領対応品も有り。

■ 留意事項
SP100のみ斜角に応じ櫛型形状を変更(50°まで対応可能)

続きを見る

お問い合わせ
お気に入りに登録
カートへ入れる

公的評価番号等

特許第5766545号
特許第5433030号
伸縮装置の止水性能試験[試験法438](一般社団法人日本建設機械施工協会施工技術総合研究所)

提供可能地域

北海道 東北 関東 北陸 中部 近畿 中国 四国 九州 沖縄
型番 質量
(kg/1.8m)
伸縮量
常時性能
(mm)
伸縮量
橋軸方向
(mm)
伸縮量
橋軸直角方向
(mm)
地震許容移動量
橋軸方向
(mm)
標準遊間
中立温度時
(mm)
最大床版遊間
最低温度時
(mm)
SP20N 53.0 20.0 20.0 ±10(相対変位) 引張15、圧縮15 68.0 78.0
SP30N 59.0 30.0 30.0 ±15(相対変位) 引張20、圧縮20 75.0 90.0
SP36N 61.0 36.0 36.0 ±18(相対変位) 引張23、圧縮23 84.0 102.0
SP50N 95.0 50.0 50.0 ±25(相対変位) 引張30、圧縮30 111.0 136.0
SP70N 132.0 70.0 70.0 ±35(相対変位) 引張40、圧縮40 141.0 176.0
SP80N 138.0 80.0 80.0 ±40(相対変位) 引張45、圧縮45 154.0 194.0
SP100N 244.0 100.0 100.0 ±50(相対変位) 引張55、圧縮55 209.0 259.0
SP20S 59.0 20.0 20.0 ±10(相対変位) 引張15、圧縮15 68.0 78.0
SP30S 65.0 30.0 30.0 ±15(相対変位) 引張20、圧縮20 75.0 90.0
SP36S 67.0 36.0 36.0 ±18(相対変位) 引張23、圧縮23 84.0 102.0
SP50S 100.0 50.0 50.0 ±25(相対変位) 引張30、圧縮30 111.0 136.0
SP70S 137.0 70.0 70.0 ±35(相対変位) 引張40、圧縮40 141.0 176.0
SP80S 147.0 80.0 80.0 ±40(相対変位) 引張45、圧縮45 154.0 194.0
SP100S 261.0 100.0 100.0 ±50(相対変位) 引張55、圧縮55 209.0 259.0
準拠している仕様
NEXCO 首都高速道路 阪神高速道路 福岡北九州高速道路 名古屋高速道路 東北地方整備局 北海道開発局 石川県
設置区分
車道用 歩道用 縦目地
タイプ
荷重支持型 突合せ型 埋設型
装備
積雪地対応 二次止水 地覆止水 斜角対応
適用
コンクリート橋用 鋼橋用 鋼床版用
構造性
本体部材(SS400)を櫛型に加工したフィンガー構造。
くし形鋼材の開閉により桁伸縮に追従する。
弾性シール材で止水性を確保する。
独自の歯形形状により全方向同伸縮量。
耐久性
本体の鋼製部材は一体構造のため耐久性に優れる。
鋼製なので除雪車(グレーダー)による影響もない。
止水材である弾性シール材を最適な断面な形状で充填することで、鋼材との接着面積が大きく、止水耐久性は高い。
走行性
フェース部はくし形構造でラップ幅が確保されている。
露出面積が小さく平坦性を保ちやすい為、走行性は良好。
止水性
遊間部に追随性の高い弾性シール材を充填しているため、止水性は良好である。
製品継ぎ目部は端面凸型の圧着により接続部を一体化。高い止水性を実現(NEXCO試験法438合格)。
環境性(騒音)
平坦性の良いくし型構造と弾性シール材の遮音効果により、車両通過音は小さい。
施工性
必要な切欠き深さは浅く、床版との取り合いに制約が少ない。
施工前段階での仮組みが容易であり、施工性は良い。
維持管理性
必要なはつり深さが浅く、構造もシンプルな為、補修施工が容易である。
推定耐用年数(参考値)
30年(参考値)
社内試験:
衝撃係数を加えた輪荷重200kNに相当する荷重を左右のフィンガーで均等に分担するものとして片側に作用させ400万回の載荷試験を実施し荷重支持性能に異常が無いことを確認している。NEXCO基準360万回≒30年相当に基づき30年相当の耐久性があると見込んでいる。
経済性(初期コスト)
お問い合わせください。
経済性(LCC)
お問い合わせください。

会社情報

会社名
ニッタ(株)
TEL
06-6563-1211
企業情報
公式サイト

このカテゴリーでよく比較される資材

!

エラーが発生しました。

次のいずれかの理由が考えられます。

比較可能な数量を超えたため
カートに追加できませんでした。
比較できる点数は20点までです。
「工種・工法」と「資材」を同時に
比較することはできません。
カート内を整理してご利用ください。
2点以上をカートに追加してください。
カート内容を確認する
!

カートへの追加
ありがとうございます。

会員登録をすれば、
カートに入れた製品の
比較表のダウンロードができます。

会員の方はこちら(ログイン) 新規会員登録
!

お気に入り登録
ありがとうございます。

会員登録をすれば、マイページより
いつでもお気に入り登録した商品を
見返すことができます。

会員の方はこちら(ログイン) 新規会員登録